EN 16434内部百叶窗.防止窒息危险标准

EN 16434标准描述

EN 16434 Internal blinds - Protection from strangulation hazards - Requirements and Test methods for safety devices

EN 16434内窗帘防止勒颈窒息危险 安全装置要求和测试方法


EN 16434标准介绍

EN 16434是一项欧洲标准, 针对室内百叶窗和防虫网的安全装置, 旨在减少绳索造成的勒颈风险。该标准由欧洲标准化委员会(CEN)制定, 并与 EN 13120(室内百叶窗性能要求)和 EN 16433(安全装置功能测试要求)配合使用, 规定了张紧装置、断裂装置、收纳装置、防缠绕装置和内绳限位装置的要求及测试方法。

EN 16434内部百叶窗.防止窒息危险标准

EN 16434适用范围

EN 16434适用于所有可用于室内百叶窗和防虫网的安全装置, 包括新制造产品和改装用途的安全组件, 以确保拉绳不会形成危险环。

EN 16434内部百叶窗.防止窒息危险标准

EN 16434人工老化

紫外线照射(Exposure to UV):按照 EN ISO 4892-2(氙弧灯照射)或 EN ISO 4892-3(荧光 UV 灯照射)进行500 小时的老化测试。

机械耐久性(Mechanical endurance):按照 EN 14201 进行耐久性测试, 模拟内部百叶窗的开合操作, 测试5,000 次伸展/收缩循环。


温度影响(Effect of temperature)

安全装置测试前, 需经历高低温处理:

◎低温处理:在 5°C ± 3°C 下至少 4 小时;

◎高温处理:在 60°C ± 3°C 下至少 4 小时;

所有测试必须在 23°C ± 5°C 的环境下开始, 且在15 分钟内完成。


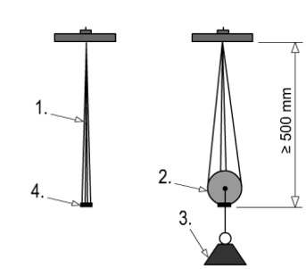
EN 16434张紧装置测试

EN 16434内部百叶窗.防止窒息危险标准

该测试检查张紧装置是否能有效固定拉绳, 并在受到外力时保持结构完整。装置安装在窗框或墙面后, 需承受 60N 水平拉力, 确保装置不会破裂或松动, 同时拉绳间距不得超过 50mm。此外, 装置在安装位置提升 10mm 后, 拉绳仍需保持固定, 不得脱落。


EN 16434断裂装置测试

EN 16434内部百叶窗.防止窒息危险标准

该测试确保断裂装置在遇到一定拉力时可自动分离, 消除勒颈风险。装置需承受 6kg 的垂直拉力, 并在 5 秒内自动分离。测试分别在绳索的高、中、低三个位置进行, 以确保断裂装置在不同受力点均能正常工作。


EN 16434收纳装置测试

该测试验证装置是否能有效收纳拉绳, 减少暴露长度。安装后, 拉动绳索, 观察其是否被完全收纳。然后施加60N拉力, 确保装置不会释放超过100mm的绳索, 以防形成危险环。


EN 16434防缠绕装置测试

EN 16434内部百叶窗.防止窒息危险标准

该测试检查装置是否能防止拉绳缠绕成环。将两条拉绳缠绕5次后松开, 观察是否能自行解开。如果无法解开, 则施加6kg拉力, 装置必须在5秒内 消除危险环, 确保不会形成潜在的勒颈风险。


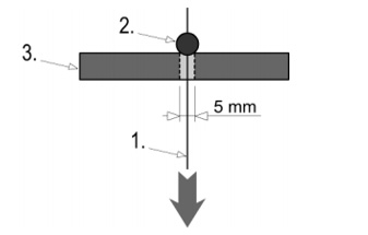
EN 16434内绳限位装置测试

EN 16434内部百叶窗.防止窒息危险标准

该测试确保内绳限位装置能防止内部拉绳形成危险环。装置安装在 5mm 直径固定孔 中, 然后施加 50N 拉力, 测量其移动距离。测试通过标准是限位装置的位移不得超过 5mm, 否则可能导致安全隐患。


EN 16434针对特定安全装置的附加信息要求

张紧装置:应标明适用于哪种类型的拉绳, 如单根拉绳、单环球链、双拉绳或其他组合方式。

断裂装置:应标明适用的拉绳或球链规格, 如直径或材料要求, 以确保装置能正常运作。

收纳装置:应标注该装置能够收纳的最大拉绳长度, 并根据拉绳直径等参数提供相应信息。

防缠绕装置:应提供适用拉绳的规格, 以确保装置能够有效防止绳索缠绕。

内绳限位装置:应提供适用于的拉绳直径或其他特性说明。

EN 16434:2014 要求所有安全装置必须具备清晰的标识, 确保用户能够正确识别、安装和使用, 以最大限度地降低风险, 保护儿童安全。


赛德斯威(SATISFY)将在窗帘合股方面为各大厂商和销售商提供专业的服务与支持, 并提供相应的美标、欧标、澳标、国标窗帘测试服务。更多信息请联系赛德斯威客服。