IEC 1144 绝缘液体燃烧性能试验方法—氧指数法

IEC 1144标准描述

IEC 1144 Test method for the determination of oxygen index of insulating liquids

IEC 1144绝缘液体燃烧性能试验方法-氧指数法


IEC 1144标准介绍

IEC 1144规定了测定绝缘液体氧指数的试验方法。IEC 1144只是测定产品诸燃烧特性中的一种特性。


IEC 1144适用范围

IEC 1144适用于在40℃±1℃时粘度等于或小于50 mm2/s的所有液体。


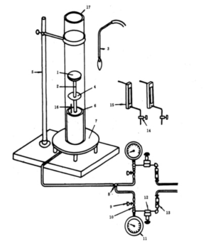
IEC 1144测试仪器说明—燃烧筒

燃烧筒应是一根内径至少为 75 mm, 高度最低为450 mm的耐热玻璃管。竖直固定在可通过氧, 氮混合气流的基座上。

为了使氧, 氮气流混合均匀, 燃烧筒底部采用直径为3mm至5mm的玻璃珠填充, 填充高度为 80mm至100mm。如果能得到等效结果, 也可使用其他尺寸的燃烧筒。

IEC 1144 绝缘液体燃烧性能试验方法—氧指数法

图1:IEC 1144燃烧筒

IEC 1144测试方法

-根据规定调整点火器火焰高度。试验应在常温15℃至30℃温度条件下进行, 将试杯放置在燃烧筒内中心处, 使用移液管向试杯内加入液体试样, 并将玻璃燃烧筒放回原位。

-根据经验或实际情况确定起始氧浓度, 再通过调节氧气和氦气调节阀来达到所需氧浓度, 同时保持燃烧筒内合适的混合气体流速。

-进行点火和计时, 随后根据火焰燃烧情况进行初步调节, 选择能维持液体试样燃烧60秒以上的最低氧浓度, 再进行最终调节, 直至找到在低一级氧浓度下试样不燃烧到60秒的点。

-最后使用该临界氧浓度测试五个试样, 当其中三个或三个以上试样燃烧达到或超过60秒时, 该氧浓度即为氧指数。

IEC 1144 绝缘液体燃烧性能试验方法—氧指数法

IEC 1144判断依据

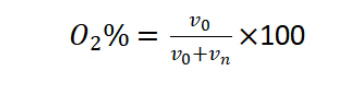
计算氧浓度:

IEC 1144 绝缘液体燃烧性能试验方法—氧指数法

V0—氧气的体积流速

Vn—氮气的体积流速


赛德斯威(SATISFY)拥有专业的电缆阻燃测试技术团队, 可为您提供IEC 1144绝缘液体燃烧性能试验方法氧指数法测试, 包括专业咨询, 标准解读, 样品测试, 报告解读, 产品改善等一站式测试服务, 更多测试服务请联系赛德斯威客服。