AS 4684澳洲高脚椅安全要求

AS 4684标准描述

AS 4684 High chairs-Safety requirements

AS 4684高脚椅-安全要求


AS 4684标准介绍

AS 468是澳大利亚高脚椅安全的重要技术规范,对独立式高脚椅的结构、性能及安全性提出了严格要求。该标准的实施有效保障了婴童在使用高脚椅时的安全性,为制造商提供了明确的产品安全指引,同时也为消费者选购安全可靠的高脚椅产品提供了重要参考依据。

AS 4684澳洲高脚椅安全要求

AS 4684适用范围

AS 4684标准适用于独立式高脚椅。

AS 4684澳洲高脚椅安全要求

AS 4684安全约束装置对乘员的固定要求要点

(1)一般要求

✅高脚椅必须配备可调节的约束系统,确保儿童无法站立或滑落。

✅安全带正确佩戴时,能将儿童固定在指定的坐或躺姿位置。

✅约束系统的扣紧装置不能有快速释放机构,且要防止其从带子上被移除。

✅高脚椅的腰带宽度不得小于20毫米,且必须牢固固定在椅架上,确保即使受力拉扯时座椅也不会与框架分离。


(2)肩带要求

肩带最小宽15毫米,并且满足以下任一要求:肩带与椅背接触点的内侧间距不超过150毫米;或肩带连接至可调节的前置带,且设计需防止从儿童肩部滑落(允许前倾动作)。


(3)胯部要求

✅胯部约束带最小宽度20毫米。

✅胯部约束装置位置测试(用于确定与高脚椅靠背的最大距离):

将高脚椅水平放置并调直靠背,可调式胯部约束带需调至离靠背最远处,柔性约束带则保持垂直。将量规垂直置于靠背与座椅间(不压缩填充物)。

判断依据:通过观察测试量规是否接触胯部约束带,来判断其与靠背的距离是否符合标准:若接触则视为小于最大允许距离,未接触则视为超过规定值。

✅胯部约束带采用带式设计时需连接前腰带与座椅,若为全身式安全带则需连接前腰带与后腰带(或座椅)。


(4)约束系统性能

✅对约束装置的各个连接点及胯部、腰部、肩部约束带分别施加规定力值并保持指定时间,随后将所有约束带扣紧并进行拉力测试,最终检查约束系统是否存在损坏迹象。

判断依据:无结构损坏,腰部/肩部/胯部约束带无松脱,可调带滑动量≤6毫米。


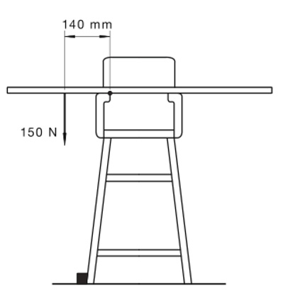
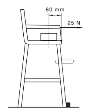
AS 4684稳定性要求

稳定性测试在15℃至25℃下进行,按制造商说明书要求组装好高脚椅。然后把高脚椅放置在地板表面。若测试中高脚椅可能滑动或滚动,需在相应腿轮处放置止动块。然后依次进行如下测试:

✅侧向稳定性:在扶手外侧140mm处施加150N向下的力(空载状态)。

AS 4684澳洲高脚椅安全要求

✅后向稳定性:在靠背外侧140mm处施加150N向下的力(空载状态)。

AS 4684澳洲高脚椅安全要求

✅前向稳定性:座椅前端放置5kg配重后,在前端或托盘边缘施加25N向外力。

AS 4684澳洲高脚椅安全要求

✅脚踏板测试:对脚踏板外缘25mm处施加200N垂直向下的力(空载状态)。

AS 4684澳洲高脚椅安全要求

✅托盘测试:在托盘中心施加200N垂直力并保持1分钟(空载状态)。

AS 4684澳洲高脚椅安全要求

判断依据:每次施力后观察高脚椅是否倾翻,所有测试均不允许发生倾翻。


AS 4684脚轮或滑垫要求

当高脚椅提供轮子或滑轨时,应限于以下任一配置:

✅两个轮子。

✅两个滑轨。

✅两个带刹车的万向轮和两个滑轨。

✅四个轮子,其中至少两个有刹车。


赛德斯威(SATISFY)可以提供婴童产品和用品的测试的一站式服务, 包括前期的评估、相关资料准备和提交、测试的全程跟进以及报告解读、数据分析和整改建议。